СТО ЦКТИ 318.05-2009
Переходы обжатые для паропроводов тепловых станций
СТО ЦКТИ 318.05-2009
Переходы обжатые для паропроводов тепловых станций
Взамен ОСТ 108.318.19-82; ОСТ 108.318.21-82; ОСТ 108.318.22-82, ОСТ 108.318.20-82
Область применения
Настоящий стандарт распространяется на обжатые переходы, изготавливаемые для паропроводов тепловых станций из труб сталей марок I2ХIМФ и I5ХIМIФ по ТУ 14-3Р-55 или ТУ 1310-030-00212179, а исполнений 17, 18, 48 и 49 - по ТУ 3-923 или ТУ 1310-030- 00212179.
Стандарт устанавливает конструкцию и основные размеры обжатых переходов для паропроводов I категории (по классификации «Правил устройства и безопасной эксплуатации трубопроводов пара и горячей воды») тепловых станций с абсолютным давлением и температурой пара:
р = 25,01 МПа, t = 545 ℃
р = 13,73 МПа, t = 560 ℃
р = 13.73 МПа, t = 545 ℃
р = 13.73МПа, t = 515 ℃
р = 4.02 МПа, t = 545 ℃
Конструкция и размеры
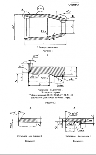
1 Конструкция, основные размеры и материал переходов должны соответствовать указанным на рисунках 1 - 6 и в таблице 1.
2 Предельные отклонения наружного диаметра Da и толщины стенки s необжатого конца перехода - по ТУ 14-3Р-55, ТУ 1310-030-00212179 или ТУ 3-923.
3 допускается изготовление переходов с разделкой под сварку по типу С4 и С5 в соответствии с СТО ЦКТИ 10.003.
Технические требования
1 Технические требования к разделке подготовленных под сварку кромок перехода - по СТО ЦКТИ 10.003.
2 При длине обточки l1, превышающей 50 мм, допускается заканчивать обточку под углом 45°.
3 Рекомендуемый размер прямых участков l2 уточняется предприятием-изготовителем при разработке технологического процесса изготовления.
Допускается изготовление подкатанной части перехода и без прямых участков.
4. Исполнения. указанные в скобках, применять по согласованию с предприятием- изготовителем.
5 Расточку диаметром dp1 допускается выполнять на длину не менее длины обжатой части перехода с выходом под углом 15° mах.
6 Масса переходов, указанная в таблице 1, - расчетная, приведена для справки.
7 Маркировка и остальные технические требования - по СТО ЦКТИ 10.003.
8 Пример условного обозначения перехода исполнения 02 с условными проходами Dу100 и dу65:
ПЕРЕХОД 100×65 02 СТО ЦКТИ 318.05
Чтобы приобрести понравившийся товар, необходимо его заказать. Есть несколько сценариев того, как это можно сделать.
- Выбрать понравившийся товар и нажать кнопку «Заказать». При оформлении заказа заполнить форму. Вписать информацию в поля: ФИО, телефон и e-mail. Затем вам перезвонит менеджер, чтобы подтвердить ваше согласие на совершение покупки.
- Выбрать понравившийся товар и нажать кнопку «В корзину». Затем перейти в корзину и нажать «Оформить заказ». Далее заполнить форму с контактными данными и отправить заявку. С вами свяжется менеджер для дальнейшего обсуждения.
- Перейти в карточку товара и нажать «Купить в один клик». После нажатия нужно заполнить форму и отправить заявку. С вами свяжется менеджер для дальнейшего обсуждения.
Мы работаем с физическими и юридическими лицами. И предоставляем сразу два варианта оплаты.
- Наличные. Вы подписываете товаросопроводительные документы, расплачиваетесь денежными средствами, получаете товар и чек.
- Безналичный расчет. Принимаем карты Visa и MasterCard. Доступен при курьерской доставке.
Ваш заказ можем доставить собственными ресурсами, при условии вашего нахождения в городе. Либо через 4 варианта доставки:
- Курьерская доставка. Курьерская доставка работает с 9:00 до 19:00. Когда товар поступит на склад, курьерская служба свяжется для уточнения деталей. Специалист предложит выбрать удобное время доставки и уточнит адрес.
- Самовывоз из магазина. Для получения заказа обратитесь к сотруднику в кассовой зоне и назовите номер.
- Сотрудничаем с постаматами. Срок хранения — 3 дня.
- Предоставляем почтовую доставку через почту России. Когда заказ придет в отделение, на ваш адрес придет извещение о посылке. Вскрывать коробку самостоятельно вы можете только после оплаты заказа.
Дополнительная вкладка для размещения информации о товарах, доставке или любого другого важного контента. Поможет вам ответить на интересующие покупателя вопросы и развеять его сомнения в покупке. Используйте её по своему усмотрению.
Вы можете убрать её или вернуть обратно, изменив одну галочку в настройках компонента. Очень удобно.
