СТО ЦКТИ 720.11-2009
Тройник равнопроходный штампованный с обжатием для трубопроводов питательной воды тепловых станций
СТО ЦКТИ 720.11-2009
Тройник равнопроходный штампованный с обжатием для трубопроводов питательной воды тепловых станций
Взамен ОСТ 108.104.09-82
Область применения
Настоящий стандарт распространяется на штампованный равнопроходный тройник с вытянутой горловиной и обжатыми концами условным проходом Dу 100, изготавливаемый из труб стали марки 15ГС по ТУ 14-3Р-55, для трубопроводов питательной воды тепловых станций I категории (по классификации «Правил устройства и безопасной эксплуатации трубопроводов пара и горячей воды») с абсолютным давлением и температурой воды:
р = 23,54 МПа, t = 250 °С
р = 18,14 МПа, t = 215 °С
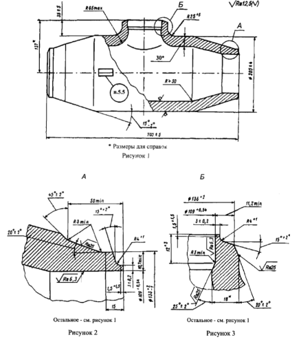
Конструкция и размеры
1 Конструкция и размеры тройника должны соответствовать указанным на рисунках 1 - 3.
2 Масса тройника - 112 кг (расчетная).
3 Разрешается изготовление тройника с разделкой под сварку по типу С4 и С5 в соответствии с СТО ЦКТИ 10.003.
Технические требования1 Рекомендуемый размер прямого участка уточняется предприятием-изготовителем при разработке технологического процесса.
Допускается изготовление подкатанной части без прямых участков.
2 Размеры радиусов сопряжения горловины с корпусом, высот и толщины стенки горловины могут быть по усмотрению предприятия-изготовителя изменены при соблюдении условий прочности.
3 Маркировка и остальные технические требования - по СТО ЦКТИ 10.003.
4 Пример условного обозначения тройника равнопроходного штампованного:
ТРОЙНИК РАВНОПРОХОДНЫЙ 100 СТО ЦКТИ 720.11
Чтобы приобрести понравившийся товар, необходимо его заказать. Есть несколько сценариев того, как это можно сделать.
- Выбрать понравившийся товар и нажать кнопку «Заказать». При оформлении заказа заполнить форму. Вписать информацию в поля: ФИО, телефон и e-mail. Затем вам перезвонит менеджер, чтобы подтвердить ваше согласие на совершение покупки.
- Выбрать понравившийся товар и нажать кнопку «В корзину». Затем перейти в корзину и нажать «Оформить заказ». Далее заполнить форму с контактными данными и отправить заявку. С вами свяжется менеджер для дальнейшего обсуждения.
- Перейти в карточку товара и нажать «Купить в один клик». После нажатия нужно заполнить форму и отправить заявку. С вами свяжется менеджер для дальнейшего обсуждения.
Мы работаем с физическими и юридическими лицами. И предоставляем сразу два варианта оплаты.
- Наличные. Вы подписываете товаросопроводительные документы, расплачиваетесь денежными средствами, получаете товар и чек.
- Безналичный расчет. Принимаем карты Visa и MasterCard. Доступен при курьерской доставке.
Ваш заказ можем доставить собственными ресурсами, при условии вашего нахождения в городе. Либо через 4 варианта доставки:
- Курьерская доставка. Курьерская доставка работает с 9:00 до 19:00. Когда товар поступит на склад, курьерская служба свяжется для уточнения деталей. Специалист предложит выбрать удобное время доставки и уточнит адрес.
- Самовывоз из магазина. Для получения заказа обратитесь к сотруднику в кассовой зоне и назовите номер.
- Сотрудничаем с постаматами. Срок хранения — 3 дня.
- Предоставляем почтовую доставку через почту России. Когда заказ придет в отделение, на ваш адрес придет извещение о посылке. Вскрывать коробку самостоятельно вы можете только после оплаты заказа.
Дополнительная вкладка для размещения информации о товарах, доставке или любого другого важного контента. Поможет вам ответить на интересующие покупателя вопросы и развеять его сомнения в покупке. Используйте её по своему усмотрению.
Вы можете убрать её или вернуть обратно, изменив одну галочку в настройках компонента. Очень удобно.
