СТО ЦКТИ 318.02-2009
ПЕРЕХОДЫ ОБЖАТЫЕ ДЛЯ ТРУБОПРОВОДОВ ПАРА И ГОРЯЧЕЙ ВОДЫ ТЕПЛОВЫХ СТАНЦИЙ
СТО ЦКТИ 318.02-2009
ПЕРЕХОДЫ ОБЖАТЫЕ ДЛЯ ТРУБОПРОВОДОВ ПАРА И ГОРЯЧЕЙ ВОДЫ ТЕПЛОВЫХ СТАНЦИЙ
Взамен ОСТ 108.318.12-82, ОСТ 108.318.13-82, ОСТ 108.318.14-82, ОСТ 108.318.15-82
Область применения
Настоящий стандарт распространяется на обжатые переходы для трубопроводов пара и горячей воды (в том числе питательной воды) тепловых станций, изготавливаемые из труб по ТУ 14-3Р-55 или ТУ 1310-030-00212179.
Стандарт устанавливает конструкцию и основные размеры обжатьих переходов для трубопроводов 1, II и III категорий (по классификации «Правил устройства и безопасной эксплуатации трубопроводов пара и горячей воды») с абсолютным давлением и температурой среды:
|
р = 23,54 МПа, t = 250°C Категория I.4 р = 18,14 МПа, t = 215°C
р = 4,31 МПа, t = 340°C р = 3,92 МПа, t = 200°C Категория III.2 |
2 Нормативные ссылки
В настоящем стандарте использованы ссылки на следующие нормативные документы:
ГОСТ 356-80 Арматура и детали трубопроводов. давления условные пробные и рабочие. Ряды
СТО ЦКТИ 10.003-2007 Трубопроводы пара и горячей воды тепловых станций. Общие технические требования к изготовлению
ТУ 14-3Р-55-2001 Трубы стальные бесшовньте для паровых котлов и трубопроводов. Технические условия
ТУ 1310-030-00212179-2007 Трубы бесшовньие горячедеформированньте механически обработанные из углеродистой и легированньих марок стали для трубопроводов ТЭС и АЭС. Технические условия
З Термины, определения и обозначения3.1 В настоящем стандарте применяют следующие термины с соответствующими определениями:
3.1.1 переход: деталь, предназначенная для плавного изменения диаметра трубопровода.
3.1.2 исполнение: Совокупность особенностей деталей в размерах, материалах, технических требованиях, определяющих их технические характеристики и применяемость.
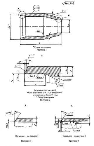
4 Конструкция и размеры4.1 Конструкция, размеры и материал переходов должны соответствовать указанным на рисунках 1 - 6 и в таблицах 1 и 2.
4.2 Предельные отклонения наружного диаметра Dа и толщины стенки необжатого конца перехода - по ТУ 14-3Р-55 или ТУ 1310-030-00212179.
4.3 Допускается изготовление переходов с разделкой под сварку по типу С4 и С5 в соответствии с СТО ЦКТИ 10.003.
5 Технические требования5.1 Технические требования к разделке подготовленных под сварку кромок перехода - по СТО ЦКТИ 10.003.
5.2 При длине обточки l1, превышающей 50 мм, допускается заканчивать обточку под углом 45°.
5.3 Рекомендуемый размер прямых участков l2 уточняется предприятием-изготовителем при разработке технологического процесса изготовления.
Допускается изготовление подкатанной части перехода и без прямых участков.
5.4 Расточку диаметром dp1допускается выполнять на длину не менее длины обжатой части перехода с выходом под углом 15° mах.
5.5 Масса переходов, указанная в таблицах 1 и 2, - расчетная, приведена для справки.
5.6 Маркировка и остальные технические требования по СТО ЦКТИ 10.003.
5.7 Исполнения, указанные в скобках, применять по согласованию с предприятием- изготовителем.
5.8 Переходы на параметры р = 3,92 МПа, t = 200 ℃, соответствующие ру = 3,92 МПа при = 200 °С, могут быть применены для трубопроводов с температурой стенки не более 400 °С при рабочем давлении в соответствии с ГОСТ 356.
5.9 Пример условного обозначения перехода исполнения 13 с условными проходами Dу225 и dу150:
ПЕРЕХОД 225×150 13 СТО ЦКТИ 318.02
Чтобы приобрести понравившийся товар, необходимо его заказать. Есть несколько сценариев того, как это можно сделать.
- Выбрать понравившийся товар и нажать кнопку «Заказать». При оформлении заказа заполнить форму. Вписать информацию в поля: ФИО, телефон и e-mail. Затем вам перезвонит менеджер, чтобы подтвердить ваше согласие на совершение покупки.
- Выбрать понравившийся товар и нажать кнопку «В корзину». Затем перейти в корзину и нажать «Оформить заказ». Далее заполнить форму с контактными данными и отправить заявку. С вами свяжется менеджер для дальнейшего обсуждения.
- Перейти в карточку товара и нажать «Купить в один клик». После нажатия нужно заполнить форму и отправить заявку. С вами свяжется менеджер для дальнейшего обсуждения.
Мы работаем с физическими и юридическими лицами. И предоставляем сразу два варианта оплаты.
- Наличные. Вы подписываете товаросопроводительные документы, расплачиваетесь денежными средствами, получаете товар и чек.
- Безналичный расчет. Принимаем карты Visa и MasterCard. Доступен при курьерской доставке.
Ваш заказ можем доставить собственными ресурсами, при условии вашего нахождения в городе. Либо через 4 варианта доставки:
- Курьерская доставка. Курьерская доставка работает с 9:00 до 19:00. Когда товар поступит на склад, курьерская служба свяжется для уточнения деталей. Специалист предложит выбрать удобное время доставки и уточнит адрес.
- Самовывоз из магазина. Для получения заказа обратитесь к сотруднику в кассовой зоне и назовите номер.
- Сотрудничаем с постаматами. Срок хранения — 3 дня.
- Предоставляем почтовую доставку через почту России. Когда заказ придет в отделение, на ваш адрес придет извещение о посылке. Вскрывать коробку самостоятельно вы можете только после оплаты заказа.
Дополнительная вкладка для размещения информации о товарах, доставке или любого другого важного контента. Поможет вам ответить на интересующие покупателя вопросы и развеять его сомнения в покупке. Используйте её по своему усмотрению.
Вы можете убрать её или вернуть обратно, изменив одну галочку в настройках компонента. Очень удобно.
