ТРОЙНИКИ ПЕРЕХОДНЫЕ С ОБЖАТИЕМ
ДЛЯ ТРУБОПРОВОДОВ ПАРА И ГОРЯЧЕЙ ВОДЫ ТЕПЛОВЫХ СТАНЦИЙ
СТО ЦКТИ 720.07-2009
ТРОЙНИКИ ПЕРЕХОДНЫЕ С ОБЖАТИЕМ
ДЛЯ ТРУБОПРОВОДОВ ПАРА И ГОРЯЧЕЙ ВОДЫ ТЕПЛОВЫХ СТАНЦИЙ
Взамен ОСТ 108.104.05-82
Область применения
Настоящий стандарт распространяется на равнопроходные тройники с вытянутой горловиной и обжатыми концами, изготавливаемые из труб стали марки 20 по ТУ 14-3Р-55 для трубопроводов II и III категорий (по классификации «Правил устройства и безопасной эксплуатации трубопроводов пара и горячей воды») пара и горячей воды тепловых станций с абсолютным давлением и температурой среды:
|
р = 3,92 МПа, t = 450 °С |
|
Категория II.1 |
|
р = 7,45 МПа, t = 145 °С |
|
Категория II.2 |
|
р = 4,31 МПа, t = 340 °С |
||
|
р = 3,92 МПа, t = 200 °С |
|
Категория III.2 |
Конструкция и размеры
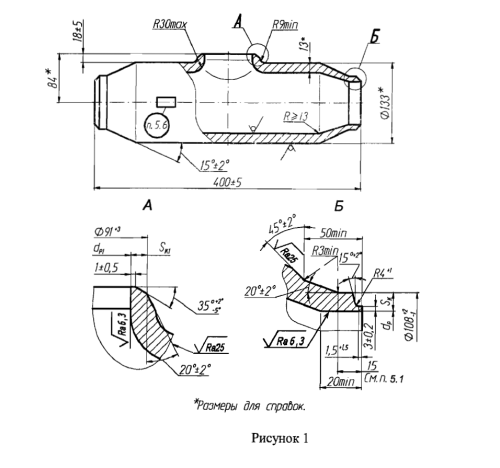
1 Конструкция и размеры тройников должны соответствовать указанным на рисунках 1 - 2 и в таблице 1.
2 Допускается изготовление тройников с разделкой под сварку по типу С4 и С5 в соответствии с СТО ЦКТИ 10.003.
Технические требования
1 Рекомендуемые размеры прямых участков подкатанной части уточняются предприятием-изготовителем при разработке технологического процесса изготовления тройника.
Допускается изготовление подкатанной части и без прямых участков.
2.Размеры радиусов сопряжения горловины с корпусом, высот и толщины стенки Sk1 могут быть изменены по усмотрению предприятия-изготовителя при соблюдении условий прочногсти
3 Масса тройников – 16,1 кг, - расчетная, приведена для справки.
4 Остальные технические требования - по СТО ЦКТИ 10.003.
5 Пример условного обозначения равнопроходного тройника исполнения 02 с условным проходом Dу 100:и Dу 80
ТРОЙНИК ПЕРЕХОДНЫЙ 100х80 02 СТО ЦКТИ 720.07

Чтобы приобрести понравившийся товар, необходимо его заказать. Есть несколько сценариев того, как это можно сделать.
- Выбрать понравившийся товар и нажать кнопку «Заказать». При оформлении заказа заполнить форму. Вписать информацию в поля: ФИО, телефон и e-mail. Затем вам перезвонит менеджер, чтобы подтвердить ваше согласие на совершение покупки.
- Выбрать понравившийся товар и нажать кнопку «В корзину». Затем перейти в корзину и нажать «Оформить заказ». Далее заполнить форму с контактными данными и отправить заявку. С вами свяжется менеджер для дальнейшего обсуждения.
- Перейти в карточку товара и нажать «Купить в один клик». После нажатия нужно заполнить форму и отправить заявку. С вами свяжется менеджер для дальнейшего обсуждения.
Мы работаем с физическими и юридическими лицами. И предоставляем сразу два варианта оплаты.
- Наличные. Вы подписываете товаросопроводительные документы, расплачиваетесь денежными средствами, получаете товар и чек.
- Безналичный расчет. Принимаем карты Visa и MasterCard. Доступен при курьерской доставке.
Ваш заказ можем доставить собственными ресурсами, при условии вашего нахождения в городе. Либо через 4 варианта доставки:
- Курьерская доставка. Курьерская доставка работает с 9:00 до 19:00. Когда товар поступит на склад, курьерская служба свяжется для уточнения деталей. Специалист предложит выбрать удобное время доставки и уточнит адрес.
- Самовывоз из магазина. Для получения заказа обратитесь к сотруднику в кассовой зоне и назовите номер.
- Сотрудничаем с постаматами. Срок хранения — 3 дня.
- Предоставляем почтовую доставку через почту России. Когда заказ придет в отделение, на ваш адрес придет извещение о посылке. Вскрывать коробку самостоятельно вы можете только после оплаты заказа.
Дополнительная вкладка для размещения информации о товарах, доставке или любого другого важного контента. Поможет вам ответить на интересующие покупателя вопросы и развеять его сомнения в покупке. Используйте её по своему усмотрению.
Вы можете убрать её или вернуть обратно, изменив одну галочку в настройках компонента. Очень удобно.
