Тройники равнопроходные штампованные с обжатием для паропроводов тепловых станций
СТО ЦКТИ 720.22-2009
ТРОЙНИКИ РАВНОПРХОДНЫЕ ШТАМПОВАННЫЕ С ОБЖАТИЕМ ДЛЯ ПАРОПРОВОДОВ ТЕПЛОВЫХ СТАНЦИЙ
Взамен ОСТ 108.104.15-82
Область применения
Настоящий стандарт распространяется на штампованные равнопроходные тройники с вытянутой горловиной и обжатыми концами, изготавливаемые из труб или трубных заготовок из стали марки 12Х1МФ и 15Х1М1Ф по ТУ 14-3Р-55 или ТУ 1310-030-00212179, для паропроводов тепловых станций с абсолютным давлением и температурой пара:
р = 13,73 МПа, t = 560 °С;
р = 13,73 МПа, t = 545 °C;
р = 13,73 МПа, t = 515 °С;
р = 4,02 МПа, t = 545 °С.
Конструкция и размеры
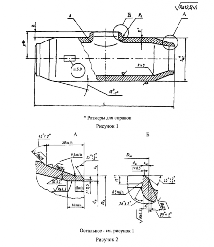
1 Конструкция, размеры и материал тройников должны соответствовать указанным на рисунках 1 - 3 и в таблице 1.
2 Допускается изготовление тройников с разделкой под сварку по типу С4 и С5 в соответствии с СТО ЦКТИ 10.003.
Технические требования
1 Рекомендуемые размеры прямых участков подкатанной части уточняются при разработке технологического процесса. Допускается изготовление подкатанной части и без прямых участков.
2 Размеры высот H и h, радиусов R и R1 и толщины стенки sk1 могут быть изменены по усмотрению предприятия-изготовителя при соблюдении условий прочности.
3 Предельные отклонения наружного диаметра Da2 не должны превышать ±2 %.
4 Размер s1* обеспечивается технологией изготовления.
5 Проточку подкатанных концов диаметром dp допускается выполнять на длину не менее длины обжатой части тройника с выходом под углом (25 ± 2)°.
6 Масса тройников, указанная в таблице 1, - расчетная, приведена для справки.
7 Остальные технические требования - по СТО ЦКТИ 10.003.
8 Пример условного обозначения тройника штампованного равнопроходного исполнения 02 с условным проходом Dy175:
ТРОЙНИК РАВНОПРОХОДНЫЙ 175 02 СТО ЦКТИ 720.22

Чтобы приобрести понравившийся товар, необходимо его заказать. Есть несколько сценариев того, как это можно сделать.
- Выбрать понравившийся товар и нажать кнопку «Заказать». При оформлении заказа заполнить форму. Вписать информацию в поля: ФИО, телефон и e-mail. Затем вам перезвонит менеджер, чтобы подтвердить ваше согласие на совершение покупки.
- Выбрать понравившийся товар и нажать кнопку «В корзину». Затем перейти в корзину и нажать «Оформить заказ». Далее заполнить форму с контактными данными и отправить заявку. С вами свяжется менеджер для дальнейшего обсуждения.
- Перейти в карточку товара и нажать «Купить в один клик». После нажатия нужно заполнить форму и отправить заявку. С вами свяжется менеджер для дальнейшего обсуждения.
Мы работаем с физическими и юридическими лицами. И предоставляем сразу два варианта оплаты.
- Наличные. Вы подписываете товаросопроводительные документы, расплачиваетесь денежными средствами, получаете товар и чек.
- Безналичный расчет. Принимаем карты Visa и MasterCard. Доступен при курьерской доставке.
Ваш заказ можем доставить собственными ресурсами, при условии вашего нахождения в городе. Либо через 4 варианта доставки:
- Курьерская доставка. Курьерская доставка работает с 9:00 до 19:00. Когда товар поступит на склад, курьерская служба свяжется для уточнения деталей. Специалист предложит выбрать удобное время доставки и уточнит адрес.
- Самовывоз из магазина. Для получения заказа обратитесь к сотруднику в кассовой зоне и назовите номер.
- Сотрудничаем с постаматами. Срок хранения — 3 дня.
- Предоставляем почтовую доставку через почту России. Когда заказ придет в отделение, на ваш адрес придет извещение о посылке. Вскрывать коробку самостоятельно вы можете только после оплаты заказа.
Дополнительная вкладка для размещения информации о товарах, доставке или любого другого важного контента. Поможет вам ответить на интересующие покупателя вопросы и развеять его сомнения в покупке. Используйте её по своему усмотрению.
Вы можете убрать её или вернуть обратно, изменив одну галочку в настройках компонента. Очень удобно.
